机构首页 机构概况 工作动态 办事指南 资料下载

任课教师录入学生考勤信息的操作文档

时间:2023-03-06
作者:

1、登录系统。

打开浏览器,地址栏输入/index.html 输入账号、密码、验证码,点击登录。

2、打开个人事务——教学工作——学生考勤情况。系统会显示本学期所有的开课任务。如图1

                                    1

3、选定某一门课程(勾选左边的方框),点击右边的“录入”。如图2

                                  2

4、在点击录入之后,会呈现上课学生名单,如下图图3。

                                     3

5、在上图图三,点击 “录入”功能,系统会弹出这门课程开课周次、上课时间,按照实际上课选定周次和节次,点击右边的录入,比如下图图4,录入第13周周二0102节考勤情况,点击右边对应的“录入”。

4

6、在上图图4点击录入之后,系统会弹出下图图5的窗口,在下图图5录入考勤信息。

5

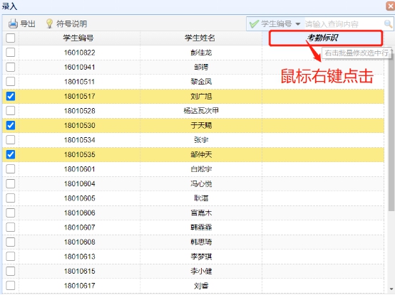
7、在上图图5中,如果哪个或者多个学生旷课,选定这些学生,用鼠标右键点击“考勤标识”,如图6,在弹出的窗口选定考勤符号,如图7,然后确定。系统会提示修改成功,说明考勤已经录入,然后关掉图7的界面

6

7

  如果本次课没有学生缺勤,全部选定上课学生,然后右键点击“考勤标识”,选择“正常上课”即可。

                             7

8、关掉图7、图5的界面,返回到图3的界面,系统会对学生考勤情况进行了统计汇总。图下图图8.

9、附加说明:学生考勤录入是有时间限制的,时间限制为48小时,由学工部考勤管理员设置。